汽车油气分离器是如何保护发动机的?
油气分离器的作用是分离曲轴箱排出气体中的机油,减少从曲轴箱呼吸口排出到发动机外的机油量。它一般安装在发动机曲轴箱呼吸口或废气管上。
汽车发动机工作时,气缸内燃烧产生的高温高压气体(进排气门关闭状态下),会沿着活塞组件与气缸壁之间的间隙进入曲轴箱。进入曲轴箱的这部分气体中含有水蒸气和二氧化硫,其中水蒸气凝结后会使机油乳化,二氧化硫则会导致机油变质。因此,发动机需配备曲轴箱通风装置将这些有害气体排出,而油气分离器就安装在曲轴箱通风装置的通道中,负责完成油雾分离工作。
一、汽车油气分离器的作用
1、保持机油良好润滑性能,延长机油使用寿命。发动机工作时,部分高温高压气体会通过活塞环泄漏到曲轴箱,其含有的燃油蒸气和水蒸气凝结后,会稀释机油、降低机油性能,还可能在机油中形成泡沫,破坏机油的正常供应,这种现象在冬季冷启动时尤为严重。安装油气分离器后,可及时分离这些有害物质,避免机油受影响。
2、保持各摩擦副的良好表面状态,减少零件磨损与腐蚀。泄漏到曲轴箱的气体中含有多种酸性物质,例如废气中的二氧化硫会先与水反应生成亚硫酸,再与空气接触生成硫酸;此外,废气中的CO、NO等成分也容易形成酸性物质。即使这些酸性物质含量极少,若不能及时分离,仍会腐蚀发动机零件。安装油气分离器后,可及时排出含酸性物质的气体,从而减少零件的腐蚀和磨损。
3、保持曲轴箱内压力与大气基本相等,减少机油泄漏。发动机工作时,曲轴箱内温度升高会导致气体膨胀,再加上泄漏进入的高温高压气体,会使曲轴箱内压力升高,进而导致机油从各结合面和油封处泄漏。同时,曲轴箱内压力过高还会增加活塞下行时的阻力,增大膨胀行程和吸气行程的功率损失,降低发动机输出功率。安装油气分离器后,可排出曲轴箱内的高温高压气体,平衡曲轴箱内外压力,解决上述问题。
4、充分回收混合废气,减少空气污染,提高发动机经济性。曲轴箱排出的油气经油气分离器分离后,废气中的油蒸气和未完全燃烧的CO等成分,会通过管道进入增压器进气口与空气混合,经增压后再次进入气缸参与燃烧;而分离出的液态机油则通过油气分离器的回油管流回油底壳,实现机油回收。
二、汽车油气分离器的常见结构类型及工作原理
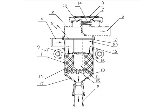
根据结构不同,安装在汽车发动机上的油气分离器可分为迷宫式和旋风式两类。
1、迷宫式油气分离器当流速较高的油雾进入迷宫分离器时,会不断撞击迷宫挡板,油雾中的小油滴逐渐聚集成较重的油滴。这些油滴在重力作用下,会附着在管壁上并逐渐汇集到回油管,最终流回曲轴箱。不过,迷宫式油气分离器的分离效率相对较低,处理后的气体中仍可能残留少量油雾,需通过管道进入外部油气分离器进一步分离。
2、旋风式油气分离器含油雾的气体沿轴向进入旋风分离管后,气流会在导向叶片的导流作用下产生强烈旋转,并沿气缸壁呈螺旋状向下进入旋风腔。此时,密度较大的油滴在离心力作用下被抛向分离器内壁,随后在重力作用下沿内壁向下流动,经旋风管排油口流回油底壳。而旋转的气流在旋风腔内逐渐收缩并向中心汇聚,形成二次涡流,最终通过导气管流向分离器顶部出口,完成气体与油雾的分离。

