气液分离器分离效率下降原因及处理
气液分离器作为石油化工、制冷、甲醇精馏等工业系统中的关键设备,其核心功能是利用气
旋风分离器压降过高原因有哪些?
旋风分离器作为工业生产中广泛应用的气固分离设备,凭借结构简单、操作便捷、成本低廉
解决旋风分离器排料口窜气、返混问
旋风分离器作为一种高效的气固分离设备,广泛应用于化工、冶金、电力、建材等工业领域
旋风分离器堵塞的现象、原因及预防
旋风分离器作为一种利用离心力实现气固分离的关键设备,广泛应用于化工、电力、冶金、
如何平衡旋风分离器处理量与分离效
旋风分离器的处理量(即单位时间内处理的含尘气体流量)与分离效率(即被捕集的粉尘质
MCS多管旋风分离器的应用场景有
在工业生产的物料分离与尾气净化环节,MCS多管旋风分离器凭借其结构紧凑、分离效率
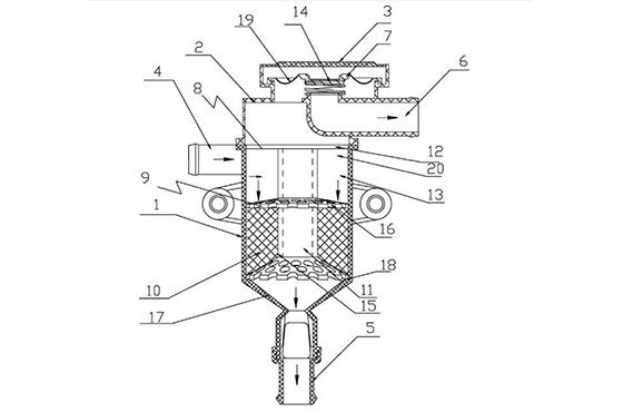
MCS多管旋风分离器工作原理是什
在工业烟气净化、粉尘回收的核心环节,MCS多管旋风分离器凭借“高效、稳定、低耗”
旋风分离器的分离效率与什么有关?
旋风分离器作为工业生产中应用较为广泛的气固分离设备之一,其分离效率直接决定了后续
